Equerre renforcée
Les équerres renforcées ER répondent à des applications structurelles dans la charpente et la maison à ossature bois.
Présentation
Caractéristiques
Matière
- Acier galvanisé S250GD + Z275 suivant NF EN 10346,
- Equivalent inox disponible (E5IX),
- Epaisseur : de 1,5 à 3 mm selon les modèles.
Avantages
- Haute rigidité,
- Polyvalence d'utilisations.
Application
Support
- Porteur : bois massif, lamellé collé, béton, acier, ...
- Porté : bois massif, bois composite, lamellé collé, fermes triangulées, profilés, ...
Domaines d'utilisation
- Fixation de fermettes,
- Lisses et montants de bardage,
- Ancrages de chevrons, consoles, chevêtres, ...
Discontinued Products
Variant Status Details
Données techniques
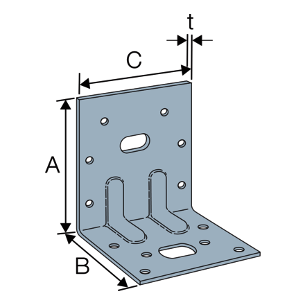
Dimensions
| Références | Dimensions [mm] | Perçages Aile A | Perçages Aile B | Poids [kg] | |||||||||
|---|---|---|---|---|---|---|---|---|---|---|---|---|---|
| A | B | C | t | Ø5 | Ø13 | Ø11x22 | Ø5 | Ø11 | Ø13 | Ø11x22 | Ø12x20 | ||
| E5/1.5 | 76.5 | 49.5 | 65 | 1.5 | 7 | - | 1 | 6 | - | - | 1 | - | 0.084 |
| E5/1.5/11.22/11 | 76.5 | 49.5 | 65 | 1.5 | 7 | - | 1 | 6 | 1 | - | - | - | 0.084 |
| E5/2 | 77 | 50 | 65 | 2 | 7 | - | 1 | 6 | - | - | 1 | - | 0.11 |
| E4/2.5 | 102.5 | 62.5 | 75 | 2.5 | 7 | 1 | - | 6 | - | - | - | 1 | 0.22 |
| E6/2.5 | 122.5 | 62.5 | 75 | 2.5 | 11 | 1 | - | 6 | - | - | - | 1 | 0.24 |
| E8/2.5 | 162.5 | 62.5 | 75 | 2.5 | 12 | 2 | - | 6 | - | - | - | 1 | 0.3 |
| E14/2 | 82 | 52 | 75 | 2 | 8 | 1 | - | 4 | - | 1 | - | - | 0.14 |
| E17/2 | 152 | 52 | 75 | 2 | 15 | 2 | - | 4 | - | 1 | - | - | 0.23 |
| E19/3 | 153 | 53 | 75 | 3 | 15 | 2 | - | 4 | - | 1 | - | - | 0.33 |
| E5/1.5/135* | 75 | 48 | 65 | 1.5 | 7 | - | 1 | 6 | - | - | 1 | - | 0.084 |
* Équerre pliée à 135°
Valeurs Caractéristiques - Connexion bois sur bois - Clouage total - 2 équerres
| Références | Valeurs caractéristiques - Connexion bois sur bois - Clouage total | |||||||||
|---|---|---|---|---|---|---|---|---|---|---|
| Fixations | Valeurs caractéristiques - Connexion bois sur bois C24 - 2 équerres [kN] | |||||||||
| Aile A | Aile B | R1.k | R2.k = R3.k | |||||||
| Qté | Qté | CNA4.0x35 | CNA4.0x40 | CNA4.0x50 | CNA4.0x60 | CNA4.0x35 | CNA4.0x40 | CNA4.0x50 | CNA4.0x60 | |
| E5/1.5 | 7 | 6 | 6.1 | 7.1 | 8.6 | 9.3 | 9.8 | 10.8 | 13 | 14 |
| E5/1.5/11.22/11 | 7 | 6 | 6.1 | 7.1 | 8.6 | 9.3 | 9.8 | 10.8 | 13 | 14 |
| E5/2 | 7 | 6 | 6.1 | 7.1 | 8.6 | 9.8 | 9.8 | 10.8 | 13 | 14 |
| E4/2.5 | 8 | 6 | 5.5 | 6.3 | 7.2 | 7.6 | 7.6 | 8.3 | 10.1 | 10.7 |
| E6/2.5 | 11 | 6 | 5.5 | 6.3 | 7.2 | 7.6 | 9.4 | 10.3 | 12.5 | 13.3 |
| E8/2.5 | 13 | 6 | 5.5 | 6.3 | 7.2 | 7.6 | 10 | 11 | 13.3 | 14.2 |
| E14/2 | 8 | 4 | 4.2 | 5.1 | 6.7 | 8.4 | 5.3 | 5.8 | 7.7 | 9.7 |
| E17/2 | 15 | 4 | 4.9 | 5.6 | 6.7 | 7.4 | 8.2 | 9 | 10.9 | 11.6 |
| E19/3 | 15 | 4 | 4.9 | 5.6 | 6.7 | 7.4 | 8.2 | 9 | 10.7 | 11.4 |
Pour obtenir les valeurs de résistance pour une seule équerre, il convient de diviser par deux les valeurs du tableau ci-dessus à condition que la poutre portée soit bloquée en rotation. Consultez notre ETE-06/0106 si la poutre est libre en rotation.
Valeurs Caractéristiques - Connexion poteau bois sur poutre bois - Clouage partiel - 2 équerres
| Références | Valeurs caractéristiques - Connexion poteau bois sur poutre bois - Clouage partiel | |||||||||
|---|---|---|---|---|---|---|---|---|---|---|
| Fixations | Valeurs caractéristiques - Connexion bois sur bois C24 - 2 équerres [kN] | |||||||||
| Aile A | Aile B | R1.k | R2.k = R3.k | |||||||
| Qté | Qté | CNA4.0x35 | CNA4.0x40 | CNA4.0x50 | CNA4.0x60 | CNA4.0x35 | CNA4.0x40 | CNA4.0x50 | CNA4.0x60 | |
| E6/2.5 | 8 | 6 | 4.1 | 5 | 6.6 | 8.3 | 5.3 | 6.3 | 9 | 9.6 |
| E8/2.5 | 10 | 6 | 4.2 | 5 | 6.7 | 8.3 | 6.2 | 7.5 | 11.5 | 12.1 |
| E17/2 | 12 | 4 | 4.2 | 5.1 | 6.7 | 8.3 | 6.7 | 7.3 | 10.7 | 11.3 |
| E19/3 | 12 | 4 | 4.2 | 5.1 | 6.7 | 8.3 | 6.5 | 7.1 | 10.7 | 11.4 |
Pour obtenir les valeurs de résistance pour une seule équerre, il convient de diviser par deux les valeurs du tableau ci-dessus à condition que la poutre portée soit bloquée en rotation. Consultez notre ETE-06/0106 si la poutre est libre en rotation.
Valeurs Caractéristiques - Connexion bois sur support rigide - 2 équerres
| Références | Valeurs Caractéristiques - Bois sur support rigide | |||||||||||
|---|---|---|---|---|---|---|---|---|---|---|---|---|
| Fixations | Valeurs Caractéristiques - Bois C24 - 2 équerres [kN] | |||||||||||
| Aile A | Aile B | R1.k | R2.k = R3.k | |||||||||
| Qté | Type | Qté | Type | CNA4.0x35 | CNA4.0x40 | CNA4.0x50 | CNA4.0x60 | CNA4.0x35 | CNA4.0x40 | CNA4.0x50 | CNA4.0x60 | |
| E5/1.5 | 7 | CNA | 1 | Ø10 | 6.6 | 6.6 | 6.6 | 6.6 | - * | - * | - * | - * |
| E5/1.5/11.22/11 | 7 | CNA | 1 | Ø10 | 6.6 | 6.6 | 6.6 | 6.6 | 5.8 | 6.7 | 8.6 | 9.9 |
| E5/2 | 7 | CNA | 1 | Ø10 | 8.4 | 8.4 | 8.4 | 8.4 | - * | - * | - * | - * |
| E4/2.5 | 8 | CNA | 1 | Ø10 | 12.6 | 12.6 | 12.6 | 12.6 | - * | - * | - * | - * |
| E6/2.5 | 11 | CNA | 1 | Ø10 | 12.6 | 12.6 | 12.6 | 12.6 | - * | - * | - * | - * |
| E8/2.5 | 13 | CNA | 1 | Ø10 | 12.7 | 12.7 | 12.7 | 12.7 | - * | - * | - * | - * |
| E14/2 | 8 | CNA | 1 | Ø12 | 3.6 | 4.4 | 5 | 6.3 | 3.4 | 4.1 | 5.5 | 6.9 |
| E17/2 | 15 | CNA | 1 | Ø12 | 15.2 | 15.2 | 15.2 | 15.2 | 5.8 | 6.6 | 8.3 | 9.4 |
| E19/3 | 15 | CNA | 1 | Ø12 | 28.1 | 28.1 | 28.1 | 28.1 | 8.1 | 9.2 | 11.6 | 13 |
* Aucune reprise de charge car appui glissant
Pour obtenir les valeurs de résistance pour une seule équerre, il convient de diviser par deux les valeurs du tableau ci-dessus à condition que la poutre portée soit bloquée en rotation. Consultez notre ETE-06/0106 si la poutre est libre en rotation.
Valeurs caractéristiques - Connexion poteau bois sur support rigide - 2 équerres
| Références | Valeurs caractéristiques - Connexion poteau bois sur support rigide | |||||||||||
|---|---|---|---|---|---|---|---|---|---|---|---|---|
| Fixations | Valeurs caractéristiques - Connexion bois sur bois C24 - 2 équerres [kN] | |||||||||||
| Aile A | Aile B | R1.k | R2.k = R3.k | |||||||||
| Qté | Type | Qté | Type | CNA4.0x35 | CNA4.0x40 | CNA4.0x50 | CNA4.0x60 | CNA4.0x35 | CNA4.0x40 | CNA4.0x50 | CNA4.0x60 | |
| E6/2.5 | 8 | CNA | 1 | Ø10 | 3.3 | 4 | 5.3 | 6.6 | - * | - * | - * | - * |
| E8/2.5 | 10 | CNA | 1 | Ø10 | 3.3 | 4 | 5.3 | 6.6 | - * | - * | - * | - * |
| E17/2 | 12 | CNA | 1 | Ø12 | 10.2 | 12.4 | 12.6 | 15.8 | 3.4 | 3.7 | 5.3 | 5.6 |
| E19/3 | 12 | CNA | 1 | Ø12 | 10 | 12.2 | 15.3 | 19.2 | 5.9 | 6.5 | 10 | 10.7 |
* Aucune reprise de charge car appui glissant
Pour obtenir les valeurs de résistance pour une seule équerre, il convient de diviser par deux les valeurs du tableau ci-dessus à condition que la poutre portée soit bloquée en rotation. Consultez notre ETE-06/0106 si la poutre est libre en rotation.
Valeurs Caractéristiques - Bois sur bois - Vis connecteurs Ø10 - 2 équerres
| Références | Valeurs Caractéristiques - Bois sur bois - Vis connecteurs Ø10 - 2 équerres | ||||
|---|---|---|---|---|---|
| Fixations | Valeurs Caractéristiques - Bois C24 - 2 équerres par assemblage [kN] | ||||
| Aile A | Aile B | R1.k | |||
| Quantité | Type | Quantité | Type | SSH10x40 | |
| E5/1.5 | 1 | SSH | 1 | SSH | 3.1 |
| E5/1.5/11.22/11 | 1 | SSH | 1 | SSH | 3.1 |
Valeurs Caractéristiques - Bois sur support rigide - Vis connecteurs Ø10 - 2 équerres
| Références | Valeurs Caractéristiques - Bois sur béton - Vis connecteurs Ø10 - 2 équerres | ||||
|---|---|---|---|---|---|
| Fixations | Valeurs Caractéristiques - Bois C24 - 2 équerres par assemblage [kN] | ||||
| Aile A | Aile B | R1.k | |||
| Quantité | Type | Quantité | Type | SSH10x40 | |
| E5/1.5 | 1 | SSH | 1 | Ø10 | 5 |
| E5/1.5/11.22/11 | 1 | SSH | 1 | Ø10 | 5 |
Installation
Montage
Fixations
Sur bois :
- Pointes annelées CNA Ø4.0x35 ou Ø4.0x50 mm,
- Vis CSA Ø5.0x35 ou CSA Ø5.0x40,
- Boulons,
- Tirefonds,
- SSH Ø 10.0 x 40mm (pour les E5/1.5 et E5/1.5/11.22/11).
Sur béton :
Support béton plein :
- Cheville mécanique : goujon FM 753 evo M10x78 ou FM 753 evo M12x104,
- Ancrage chimique : résine AT-HP + Tige filetée LMAS M10-120/25 ou LMAS M12-150/35.
Support maçonnerie creuse :
- Ancrage chimique : résine AT-HP ou POLY-GP + Tige filetée LMAS M10-120/25 avec tamis SH16x130 ou LMAS M12-150/35 avec tamis SH20x130.
Sur acier :
- Boulons.
Installation
- Approcher l’élément à fixer du support.
- Pointer l’élément. Celui-ci peut aussi être vissé à l’aide de vis adaptées.
- Si le support est en bois, l’équerre est aussi pointée ou vissée sur celui-ci.
- Si le support est en béton, fixer l’équerre en respectant les préconisations de pose de l’ancrage choisi.
Technical Notes
Informations
Le saviez-vous ?
Dans le cas d’un déplacement calculé de la ferme de plus de 6 mm, il faut alors réaliser un appui glissant. Le glissement est autorisé par le trou oblong situé sur nos équerres (source DTU 31.3, P3/5.3.3).
F1 : effort de traction dans l’axe central de l’équerre
Cas particulier d’une fixation avec 1 seule équerre :
- Si l’ensemble de la structure empêche la rotation de la panne ou du poteau, la résistance en traction est égale à la moitié de la valeur donnée pour deux équerres,
- Dans le cas contraire, la résistance de l’assemblage dépend de la distance «f» entre la surface de contact verticale et le point d’application de la charge.
F2 et F3 : effort latéral de cisaillement
Cas particulier d’une fixation avec 1 seule équerre :
- La valeur de résistance à considérer est égale à la moitié de celle donnée pour deux équerres.
F4 et F5 : effort transversal dirigé vers ou à l’opposé de l’équerre
- La résistance de l’assemblage dépend de la distance «e» entre la base de l’équerre et le point d’application de la charge,
- Pour consulter les charges correspondantes, contactez-nous.
Seuls les efforts F1, F2 et F3 pour des assemblages à 2 équerres sont présents sur cette fiche.
Pour plus d’information, contactez-nous.